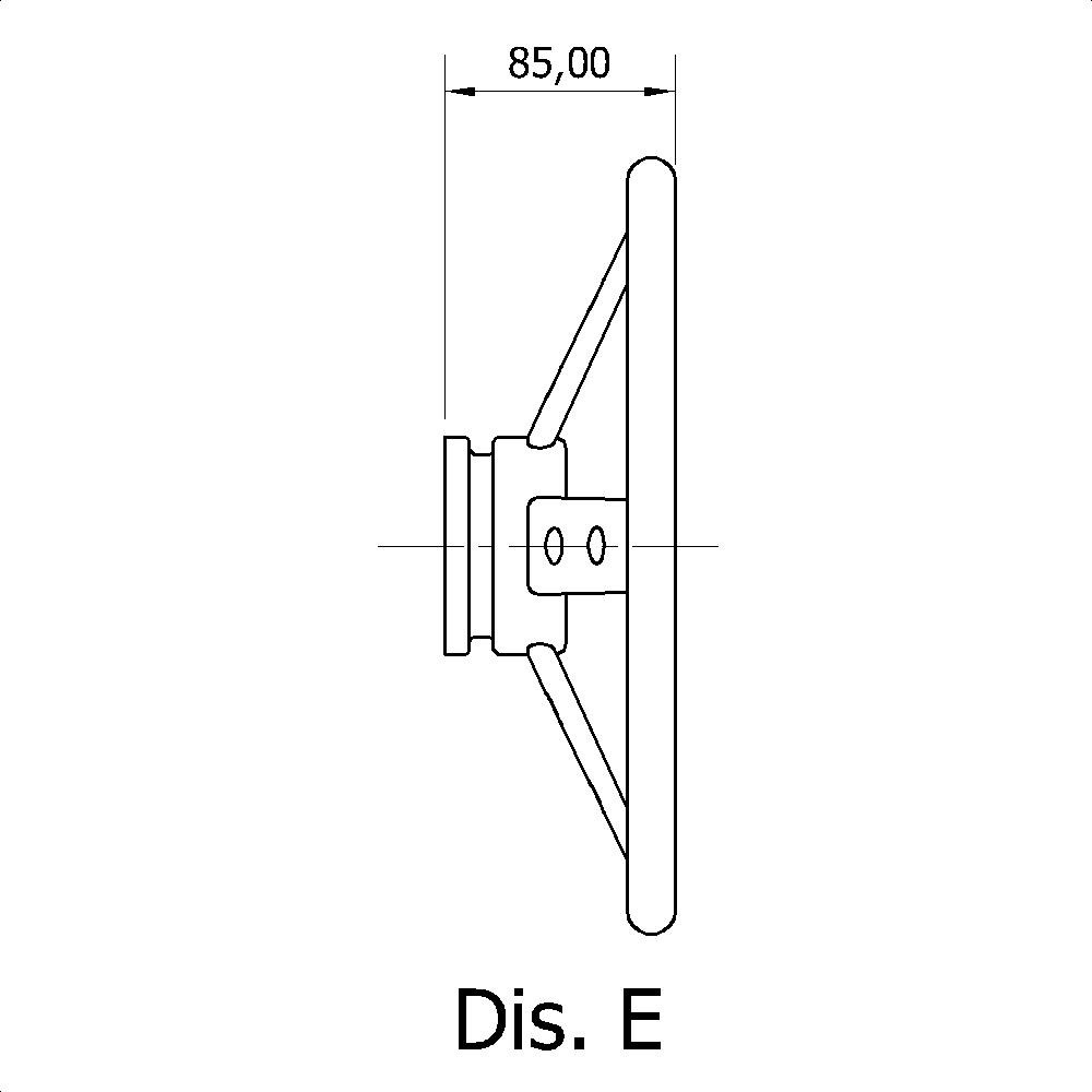
Steering wheel with black polyurethane handgrip Ø 350 mm.
See draw E
I read and agree to the disclosure concerning the Processing of Personal Data pursuant to EU Regulation 2016/679 art. 13 and 14. (*)