MC300B

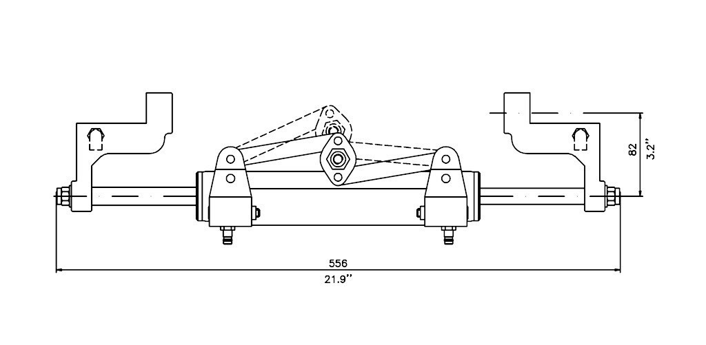
Art. MC300B Cilindro Evolution

PRODOTTO SOSTITUITO DA MC300BHD

Cilindro EVOLUTION a Montaggio frontale / bilanciato.

Volume (cm3) 130

Corsa (mm) 198

Ø Stelo 18mm

Richiedi informazioni

    Ho letto e accetto l’informativa relativa al Trattamento dei Dati Personali ai sensi del Regolamento UE 2016/679 artt. 13 e 14. (*)

    This site is registered on wpml.org as a development site.